New Semester
Started
Get
50% OFF
Study Help!
--h --m --s
Claim Now
Question Answers
Textbooks
Find textbooks, questions and answers
Oops, something went wrong!
Change your search query and then try again
S
Books
FREE
Study Help
Expert Questions
Accounting
General Management
Mathematics
Finance
Organizational Behaviour
Law
Physics
Operating System
Management Leadership
Sociology
Programming
Marketing
Database
Computer Network
Economics
Textbooks Solutions
Accounting
Managerial Accounting
Management Leadership
Cost Accounting
Statistics
Business Law
Corporate Finance
Finance
Economics
Auditing
Tutors
Online Tutors
Find a Tutor
Hire a Tutor
Become a Tutor
AI Tutor
AI Study Planner
NEW
Sell Books
Search
Search
Sign In
Register
study help
engineering
civil engineering
Engineering Mechanics Statics 12th Edition R. C. Hibbeler - Solutions
The pendulum consists of the 3-kg slender rod and the 5-kg thin plate. Determine the location y of the center of mass G of the pendulum; then find the mass moment of inertia of the pendulum about an axis perpendicular to the page and passing throughG.
The cone and cylinder assembly is made of homogeneous material having a density of 7.85 Mg/m3. Determine its mass moment of inertia about the zaxis.
Determine the mass moment of inertia of the overhung crank about the x axis. The material is steel having a density of ? = 7.85 Mg/m3.
Determine the mass moment of inertia of the overhung crank about the x? axis. The material is steel having a density of ? = 7.85 Mg/m3.
If the large ring, small ring and each of the spokes weigh 100 lb, 15 lb, and 20 lb, respectively, determine the mass moment of inertia of the wheel about an axis perpendicular to the page and passing through pointA.
Determine the mass moment of inertia of the thin plate about an axis perpendicular to the page and passing through point O. The material has a mass per unit area of 20kg/m2.
Determine the mass moment of inertia of the thin plate about an axis perpendicular to the page and passing through point O. The material has a mass per unit area of 20kg/m2.
Determine the moment of inertia of the beam?s cross-sectional area about the x axis which passes through the centroid C.
Determine the moment of inertia of the beam?s cross-sectional area about the y axis which passes through the centroid C.
Determine the moment of inertia of the beam?s cross-sectional area about the x axis.
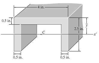
Determine the moment of inertia of the beam?s cross-sectional area with respect to the x' axis passing through the centroid C.
Determine the product of inertia for the angle?s cross-sectional area with respect to the x? and y? axes having their origin located at the centroid C. Assume all corners to be right angles.
Determine the moment of inertia of the area about the yaxis.
Determine the moment of inertia of the area about the xaxis.
Determine the moment of inertia of the area about the x axis. Then, using the parallel-axis theorem, find the moment of inertia about the x? axis that passes through the centroid C of the area. y = 120 mm.
The pendulum consists of the slender rod OA, which has a mass per unit length of 3 kg/m. The thin disk has a mass per unit area of 12 kg/m2. Determine the distance y to the center of mass G of the pendulum; then calculate the moment of inertia of the pendulum about an axis perpendicular to the page
Determine the product of inertia of the area with respect to the x and yaxes.
The 200-kg crate is on the lift table at the position ? = 30o. Determine the force in the hydraulic cylinder AD for equilibrium. Neglect the mass of the lift table?s components.
The uniform rod OA has a weight of 10 lb. When the rod is in a vertical position, ? = 0o, the spring is unstretched. Determine the angle for equilibrium if the end of the spring wraps around the periphery of the disk as the disk turns.
The Nuremberg scissors is subjected to a horizontal force of P = 600 N. Determine the angle ? for equilibrium. The spring has a stiffness of k = 15 KN/m and is unstretched when ? = 15?.
The Nuremberg scissors is subjected to a horizontal force of P = 600 N. Determine the stiffness k of the spring for equilibrium when ? = 60o. The spring is unstretched when ? = 15?.
Determine the force developed in the spring required to keep the 10 lb uniform rod AB in equilibrium when ? = 35?.
If a force of P = 5 lb is applied to the handle of the mechanism, determine the force the screw exerts on the cork of the bottle. The screw is attached to the pin at A and passes through the collar that is attached to the bottle neck atB.
The pin-connected mechanism is constrained at A by a pin and at B by a roller. If P = 10 lb, determine the angle ? for equilibrium. The spring is unstretched when ? = 45o. Neglect the weight of the members.
The pin-connected mechanism is constrained by a pin at A and a roller at B. Determine the force P that must be applied to the roller to hold the mechanism in equilibrium when ? = 30o. The spring is unstretched when ? = 45?. Neglect the weight of the members.
If a force P = 100 N is applied to the lever arm of the toggle press, determine the clamping force developed in the block when ? = 45?. Neglect the weight of the block.
When the forces are applied to the handles of the bottle opener, determine the pulling force developed on thecork.
If the spring has a stiffness k and an unstretched length l0, determine the force P when the mechanism is in the position shown. Neglect the weight of themembers.
Solve Prob. 11?11 if the force P is applied vertically downward at B.
Determine the angles ? for equilibrium of the 4-lb disk using the principle of virtual work. Neglect the weight of the rod. The spring is unstretched when ? = 0o and always remains in the vertical position due to the roller guide.
The truck is weighed on the highway inspection scale. If a known mass m is placed a distance s from the fulcrum B of the scale, determine the mass of the truck mt if its center of gravity is located at a distance d from point C. When the scale is empty, the weight of the lever ABC balances the
The assembly is used for exercise. It consists of four pin-connected bars, each of length L, and a spring of stiffness k and unstretched length ? (
A 5-kg uniform serving table is supported on each side by pairs of two identical links, AB and CD, and springs CE. If the bowl has a mass of 1 kg, determine the angle ? where the table is in equilibrium. The springs each have a stiffness of k = 200 N/m and are unstretched when ? = 90o. Neglect the
A 5-kg uniform serving table is supported on each side by two pairs of identical links, AB and CD, and springs CE. If the bowl has a mass of 1 kg and is in equilibrium when ? = 45o, determine the stiffness of each spring. The springs are unstretched when ? = 90?. Neglect the mass of the links.
If a vertical force of P = 50 N is applied to the handle of the toggle clamp, determine the clamping force exerted on thepipe.
The spring is unstretched when ? = 45o and has a stiffness of k = 1000 lb/ft. Determine the angle ? for equilibrium if each of the cylinders weighs 50 lb. Neglect the weight of the members. The spring remains horizontal at all times due to the roller.
The machine shown is used for forming metal plates. It consists of two toggles ABC and DEF, which are operated by the hydraulic cylinder. The toggles push the moveable bar G forward, pressing the plate into the cavity. If the force which the plate exerts on the head is P = 8 kN, determine the force
The vent plate is supported at B by a pin. If it weighs 15 lb and has a center of gravity at G, determine the stiffness k of the spring so that the plate remains in equilibrium at ? = 30?.The spring is unstretched when ? = 0?.
Determine the weight of block G required to balance the differential lever when the 20-lb load F is placed on the pan. The lever is in balance when the load and block are not on the lever. Take x = 12in.
If the load F weighs 20 lb and the block G weighs 2 lb, determine its position x for equilibrium of the differential lever. The lever is in balance when the load and block are not on the lever.
Determine the magnitude of the couple moment M required to support the 20-kg cylinder in the configuration shown. The smooth peg at B can slide freely within the slot. Neglect the mass of themembers.
The crankshaft is subjected to a torque of M = 50lb ? ft. Determine the vertical compressive force F applied to the piston for equilibrium when ? = 60?.
If the potential energy for a conservative one-degree-of-freedom system is expressed by the relation V = (4x3 – x2 – 3x + 10) ft ∙ lb, where x is given in feet, determine the equilibrium positions and investigate the stability at each position.
If the potential energy for a conservative one-degree- of-freedom system is expressed by the relation V = (24 sin θ + 10 cos 2θ) ft ∙ lb, 0o < θ < 90o, determine the equilibrium positions and investigate the stability at each position.
If the potential energy for a conservative one-degree-of-freedom system is expressed by the relation V = (3y3 + 2y2 – 4y + 50), where y is given in meters, determine the equilibrium positions and investigate the stability at each position.
The 2-Mg bridge, with center of mass at point G, is lifted by two beams CD, located at each side of the bridge. If the 2-Mg counterweight E is attached to the beams as shown, determine the angle ? for equilibrium. Neglect the weight of the beams and the tie rods.
The spring has a stiffness k = 600 lb/ft and is unstretched when ? = 45o. If the mechanism is in equilibrium when ? = 60o, determine the weight of cylinder D. Neglect the weight of the members. Rod AB remains horizontal at all times since the collar can slide freely along the vertical guide.
If the springs at A and C have an unstretched length of 10 in. while the spring at B has an unstretched length of 12 in., determine the height h of the platform when the system is in equilibrium. Investigate the stability of this equilibrium configuration. The package and the platform have a total
The spring is unstretched when ? = 45o and has a stiffness of k = 1000 lb/ft. Determine the angle ? for equilibrium if each of the cylinders weighs 50 lb. Neglect the weight of the members.
A 5-kg uniform serving table is supported on each side by pairs of two identical links, AB and CD, and springs CE. If the bowl has a mass of 1 kg, determine the angle ? where the table is in equilibrium. The springs each have a stiffness k = 200 N/m of and are unstretched when ? = 90o. Neglect the
If a 10-kg load I is placed on the pan, determine the position x of the 0.75-kg block H for equilibrium. The scale is in balance when the weight and the load are not on thescale.
Determine the angles ? for equilibrium of the 200-lb cylinder and investigate the stability of each position. The spring has a stiffness of k = 300 lb/ft and an unstretched length of 0.75 ft.
Determine the angles ? for equilibrium of the 50-kg cylinder and investigate the stability of each position. The spring is uncompressed when ? = 60?.
If the mechanism is in equilibrium when ? = 30o?determine the mass of the bar BC. The spring has a stiffness of k = 2 kN/m and is uncompressed when ? = 0o. Neglect the mass of the links.
The uniform rod OA weighs 20 lb, and when the rod is in the vertical position, the spring is unstretched. Determine the position ? for equilibrium. Investigate the stability at the equilibrium position.
The uniform link AB has a mass of 3 kg and is pin connected at both of its ends. The rod BD, having negligible weight, passes through a swivel block at C. If the spring has a stiffness of k = 100 N/m and is unstretched when ? = 0o, determine the angle ? for equilibrium and investigate the stability
The truck has a mass of 20 Mg and a mass center at G. Determine the steepest grade along which it can park without overturning and investigate the stability in thisposition.
The cylinder is made of two materials such that it has a mass of m and a center of gravity at point G. Show that when G lies above the centroid C of the cylinder, the equilibrium isunstable.
The cap has a hemispherical bottom and a mass m. Determine the position h of the center of mass G so that the cup is in neutralequilibrium.
Determine the height h of the cone in terms of the radius r of the hemisphere so that the assembly is in neutral equilibrium. Both the cone and the hemisphere are made from the samematerial.
A homogeneous block rests on top of the cylindrical surface. Derive the relationship between the radius of the cylinder, r, and the dimension of the block, b, for stable equilibrium. Hint: Establish the potential energy function for a small angle ? i.e., approximate sin ? ? 0, and cos ? ? 1 ? ?2/2.
The homogeneous cone has a conical cavity cut into it as shown. Determine the depth d of the cavity in terms of h so that the cone balances on the pivot and remains in neutral equilibrium.
The assembly shown consists of a semicylinder and a rectangular block. If the block weighs 8 lb and the semicylinder weighs 2 lb, investigate the stability when the assembly is resting in the equilibrium position. Set h = 4in.
The 2-lb semicylinder supports the block which has a specific weight of γ = 80 lb/ft3. Determine the height h of the block which will produce neutral equilibrium in the positionshown.
The assembly shown consists of a semicircular cylinder and a triangular prism. If the prism weighs 8 lb and the cylinder weighs 2 lb, investigate the stability when the assembly is resting in the equilibriumposition.
A conical hole is drilled into the bottom of the cylinder, and it is then supported on the fulcrum at A. Determine the minimum distance d in order for it to remain in stableequilibrium.
The uniform rod has a weight W. Determine the angle ? for equilibrium. The spring is uncompressed when ? = 90?. Neglect the weight of the rollers.
The uniform links AB and BC each weigh 2 lb and the cylinder weighs 20 lb. Determine the horizontal force P required to hold the mechanism at ? = 45o. The spring has an unstretched length of 6 in.
The spring attached to the mechanism has an unstretched length when ? = 90o. Determine the position for equilibrium and investigate the stability of the mechanism at this position. Disk A is pin connected to the frame at B and has a weight of 20 lb.
Determine the force P that must be applied to the cord wrapped around the drum at C which is necessary to lift the bucket having a mass m. Note that as the bucket is lifted, the pulley rolls on a cord that winds up on shaft B and unwinds from shaftA.
The uniform bar AB weighs 100 lb. If both springs DE and BC are unstretched when ? = 90o, determine the angle ? for equilibrium using the principle of potential energy. Investigate the stability at the equilibrium position. Both springs always remain in the horizontal position due to the roller
The uniform rod AB has a weight of 10 lb. If the spring DC is unstretched when ? = 0o, determine the angle ? for equilibrium using the principle of virtual work. The spring always remains in the horizontal position due to the roller guide at D.
Solve Prob. 11?56 using the principle of potential energy. Investigate the stability of the rod when it is in the equilibrium position.
Determine the height h of block B so that the rod is in neutral equilibrium. The springs are unstretched when the rod is in the vertical position. The block has a weightW.
Showing 2500 - 2600
of 2574
First
12
13
14
15
16
17
18
19
20
21
22
23
24
25
26
Step by Step Answers